Study on Shell Mode Vibration Characteristics of Reactor Core Barrel Based on Analysis of Pressure Vessel Vibration Signal
- 
					    摘要: 核反应堆堆芯吊篮的振动状态直接关系到堆芯的安全运行,但堆芯吊篮处于高温和强辐照环境下,无法直接在吊篮上布置传感器测量其振动。本文利用安装在压力容器上的加速度计间接监测吊篮的振动,通过对多核电机组压力容器振动信号相干谱、自功率谱和互功率谱进行分析,获得吊篮壳型振动频率和振幅,并将分析结果与秦山核电厂二期1号机组试验实测值进行比较,分析结果与试验结果相近。研究表明通过对压力容器振动信号的监测与分析,能够有效识别堆芯吊篮壳型振动特性,为吊篮状态评价提供基础。Abstract: The vibration state of reactor core barrel is directly related to the safe operation of the core. However, the barrel is under high temperature and high radiation conditions, so it is impossible to measure the barrel vibration by a sensor directly installed on the barrel. In this paper, the accelerometer installed on the pressure vessel is used to indirectly monitor the barrel vibration. The coherence spectrum, auto-power spectrum and cross-power spectrum of vibration signal of pressure vessel with multiple nuclear units are analyzed to provide the shell mode vibration frequency and amplitude of the barrel. As shown by comparison, the analysis results approximate to the measured values from the test of Qinshan NPP Phase II Unit 1. The study results show that the shell mode vibration characteristics of the core barrel can be effectively identified by the monitoring and analysis of the pressure vessel vibration signals, which provides a foundation for the evaluation of the core barrel conditions.- 
									Key words:
									
- Core barrel /
- Vibration signal /
- Shell mode vibration /
- Frequency /
- Amplitude
 
- 
						
    
    
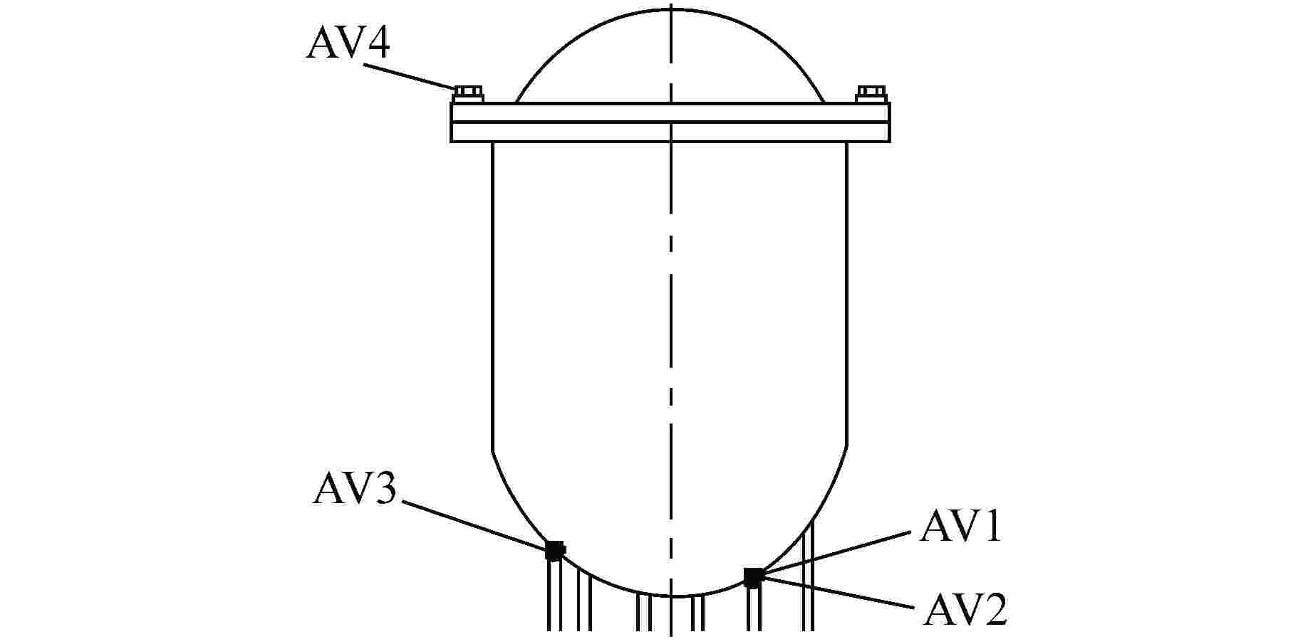
    表 1 吊篮2阶壳型振动频率和幅度 Table 1. Shell Mode (n=2) Vibration Frequency and Amplitude of Reactor Core Barrel 核电 
 机组燃料循环 
 周期初期的
 数据编号频率/ 
 Hz相位 平均振 
 幅/μmAV1与AV2 AV1与AV3 AV2与AV3 3 1 20.3 0.9 1.0 1.0 3.92 2 20.2 0.9 0.9 1.0 4.92 3 20.3 0.6 0.7 0.7 3.48 4 1 20.6 0.6 0.8 0.9 4.49 2 20.6 0.6 0.7 0.9 5.25 3 20.7 0.8 0.8 0.7 3.85 
- 
						[1] 臧希年. 核电厂系统及设备(第二版)[M]. 北京: 清华大学出版社, 2010: 36-38. [2] 罗璋琳. 核动力堆噪声分析[M]. 北京: 中国原子能出版社, 2013: 147. [3] 国家能源局. 压水堆核电厂堆内构件的振动监测: NB/T 20382—2016[S]. 北京: 新华出版社, 2016. [4] 刘才学,郑武元,汪成元,等. 基于中子噪声分析技术的核电站振动监测系统研制[J]. 核动力工程,2009, 30(6): 91-94. [5] 刘才学,魏东,房成春,等. 中子噪声在核反应堆吊篮振动监测中的应用研究[J]. 核动力工程,2006, 27(1): 30-33. doi: 10.3969/j.issn.0258-0926.2006.01.008 [6] 喻丹萍. 秦山核电二期工程1#反应堆堆内构件流致振动现场实测[J]. 核动力工程,2003, 24(S2): 118-121. 
- 
						
						  
 
	                 
								 
  
							 
							 下载:
下载: 
				 
							 
							 
							 
							 
							 
						
						
						
					 
												